logo

会员登录

用户登录 评委登录
一周内自动登录 建议在公共电脑上取消此选项
一周内自动登录 建议在公共电脑上取消此选项
依据工信部新规要求,运营商部署做出调整,现部分用户无法获取短信验证码(移动运营商为主)。如遇收不到短信验证码情况,请更换其他手机号(联通、电信)尝试,有疑问请电话咨询:18912606905、18136127515。
一周内自动登录 建议在公共电脑上取消此选项
手机登录 微信登录 还未账号?立即注册 忘记密码

会员注册

*依据工信部新规要求,运营商部署做出调整,现部分用户无法获取短信验证码(移动运营商为主)。如遇收不到短信验证码情况,请更换其他手机号(联通、电信)尝试,有疑问请电话咨询:18912606905、18136127515。
已有账号?
医械创新资讯
医械创新资讯

5 个月两笔亿级融资!这家械企有望冲击 IPO?

日期:2026-04-22
浏览量:2781

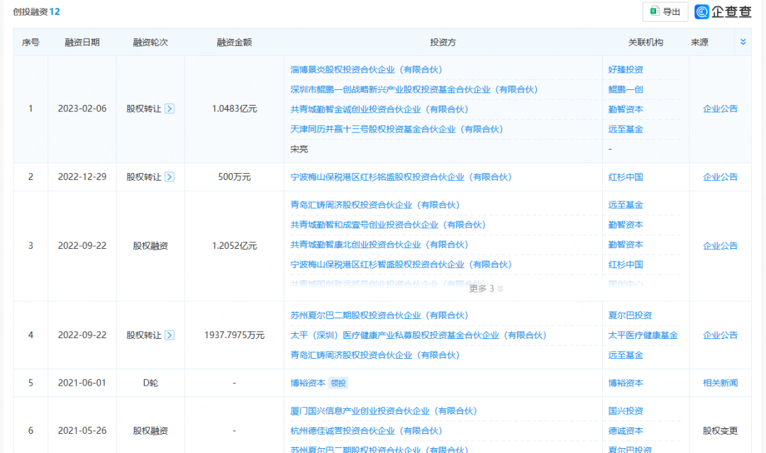
近日,天津恒宇医疗科技有限公司(下称 "恒宇医疗")宣布完成新一轮超亿元战略投资。本轮融资由中金资本、锡创投联合领投,老股东成都科创投持续追加投资,星桥资本担任长期独家财务顾问。

值得关注的是,根据企查查最新数据显示,此次战略投资距离其上一轮D+轮融资仅过去5个月,在资本节奏趋缓的当下,如此密集的亿元级加注显得尤为亮眼。

梳理其融资历程可见,公司已完成多轮融资并推进至D+轮之后,这一阶段在医疗器械行业通常被视为上市前的关键筹备期,结合行业规律与公司基本面,恒宇医疗是否已具备资本化潜力、未来有无冲击IPO的可能,成为业内热议的焦点。


资本密集加注:5 个月两笔亿元融资

恒宇医疗的融资之路呈现出 "高频、大额、老股东持续追投" 的鲜明特征,每一轮融资都伴随着资本阵容的升级与估值的稳步提升,清晰勾勒出公司从初创期到上市筹备阶段的成长轨迹。

自成立以来,恒宇医疗已累计完成超10轮融资,总金额高达数亿元,投资方涵盖顶级PE、产业资本及地方政府引导基金,形成了多元化且实力雄厚的股东矩阵。

据企查查数据,202512月,公司完成D+轮近亿元融资;短短5个月后,再度斩获超亿元战略投资,且领投方升级为中金资本、锡创投等头部机构,老股东成都科创投也选择继续加码,充分彰显了资本市场对其发展前景的高度认可与坚定信心,也为其未来可能的资本化进程奠定了基础。

融资轮次与属性来看,D+轮融资通常是企业迈向Pre-IPO阶段的重要过渡,而此次新增的超亿元融资明确为战略投资,这类投资往往不仅是资金的注入,更伴随着投资方在产业资源、资本市场经验等方面的赋能,为企业后续优化股权结构、推进商业化落地、筹备上市提供全方位支撑。

业内普遍规律显示,创新医疗器械企业完成D+轮及后续战略投资后,若产品、商业化、合规等核心要素达标,通常会在6-12个月内启动上市辅导,整体上市周期约18-24个月。恒宇医疗当前的融资节奏与资本动向,与科创板上市企业的前期筹备路径高度契合。

以同赛道已上市企业北芯生命为例,其在IPO前同样经历了多轮密集融资,从早期VC到后期PE、产业资本逐步入场,老股东持续追投,最终在融资至后期轮次后成功登陆资本市场。

恒宇医疗此番5个月内连获两笔亿元级融资,且引入中金资本等具备丰富上市运作经验的头部机构,无疑进一步强化了市场对其即将启动IPO的预期。但截至目前,公司尚未对外披露任何明确的IPO计划。


资本化潜力支撑:恒宇医疗的核心竞争力

一家械企能否具备冲击IPO的潜力,核心看技术、产品、市场、合规四大硬指标。恒宇医疗在这几方面均已具备一定的基础,这也是资本持续加码、市场对其资本化预期提升的核心逻辑。

技术层面,公司卡位血管介入心脏之眼核心赛道,主攻血管内超声(IVUS)、光学相干断层成像(OCT)等高端腔内影像产品,是国内少数同时布局并掌握IVUSOCT核心技术的平台型企业,深耕该领域多年已形成从核心元器件到整机设备,从单一产品到系统解决方案的全链条布局。

其自研探头、成像算法、导管系统等关键部件逐步实现自主可控,专利布局完整,有效摆脱对外资技术依赖。截至目前,申请专利量182件,专利有效量109件,核心技术实力得到行业认可,也符合科创板硬科技定位要求,为未来可能的资本化提供了技术支撑。

产品层面,公司已形成心血管+泛血管、影像+功能学的多线矩阵,专注于IVUS设备及导管、OCT设备及导管、IVUS/OCT一体机等产品的自主研发、生产和销售,除此之外,恒宇自主研发的2D ICE4D ICE、心脏超声系统一体机已稳步推进,重磅激光产品线亦在持续完善,产品梯队清晰,成长空间充足。

市场层面,血管介入影像正处于国产替代爆发期。我国PCI手术量逐年攀升,冠心病患者基数庞大,但腔内影像渗透率仍显著低于海外成熟市场,行业空间广阔。过去该领域长期被雅培、波士顿科学、飞利浦等外资巨头占据主导,近年来在政策鼓励、临床需求提升、集采趋势等多重因素推动下,国产厂商加速突围。恒宇医疗作为国产头部企业,直接受益于行业红利,与北芯生命等企业共同推动国产替代进程。

商业化层面,公司渠道覆盖持续拓展,已与哈医大二院、浙大附属二院、解放军总医院等多家知名医院建立深厚合作关系,临床认可度不断提升。此次战略投资所得资金,也将进一步加速公司血管介入腔内影像及治疗相关产品的研发、生产和商业化进程,持续夯实资本化基础。


对标北芯生命:同赛道先行者的上市路径,印证行业规律

作为心血管介入影像领域的直接对标企业,北芯生命的上市历程,为恒宇医疗提供了重要的行业参照。

两家企业赛道高度重合、技术布局相近、融资阶段相似,北芯生命从多轮融资到登陆科创板的完整路径,也在一定程度上印证了恒宇医疗当前所处的发展阶段与潜在的资本化空间。

北芯生命2015年成立,专注心血管精准介入,核心产品包括IVUSFFR等,融资节奏呈现 早期起步、后期密集加注的特征,IPO前累计完成12轮融资汇聚红杉中国、启明创投等多家头部机构。

公司曾于2021年试水港股未果,随后转向科创板,202210月启动上市辅导,20233月递交招股书,历经审核问询与资料更新后,于20262月正式上市,其资本运作节奏与恒宇医疗当前状态较为接近。

产品层面,北芯生命以IVUS+FFR构建 影像+功能学双轮矩阵,恒宇医疗则聚焦IVUS+OCT双影像技术,是国内少数同时掌握这两项核心技术的企业,产品覆盖心血管影像系统及泛血管介入耗材,均以自研技术打破外资垄断。

IVUS市场格局为例,过往十年雅培、波士顿科学等外资占据超八成市场份额,2024年北芯生命以10.6%市占率领跑国产,恒宇医疗紧随其后,共同受益于临床需求提升与国产替代浪潮。

对比来看,恒宇医疗在全链条自研技术、专利布局及产品性能上,已具备与北芯生命对标基础;同时,其商业化覆盖范围持续拓展,天津生产基地配备完善的生产设施,产能布局也已基本成型,为后续发展及潜在的资本化进程筑牢了基础。


上市可能性:从融资与动态看有机会,但仍存多重不确定性

综合当前融资趋势与企业动态,恒宇医疗确实存在冲击科创板的可能性,但这种可能性仍建立在多个关键条件顺利兑现的基础之上。

从积极因素来看,公司连续获得大额融资,D+轮后又迎来头部机构战略投资,老股东持续加码,股东结构中不乏具备资本市场经验的头部机构,为后续可能的上市筹备奠定了坚实的资本基础。同时,公司所处赛道符合硬科技与国产替代方向,技术布局完整,产品管线清晰,专注于泛血管一体化解决方案,与科创板鼓励高端医疗装备的定位较为契合。

中金资本、锡创投等投资方也明确表示,看好恒宇医疗在IVUSOCT等器械产品上的自主创新能力,以及其在国产替代中的核心作用。如果未来核心产品能够按计划获批,商业化持续放量,营收规模稳步提升,那么企业启动IPO的时间窗口很可能会逐步临近。

但另一方面,不确定性同样不容忽视。三类医疗器械注册周期长、不确定性高,核心产品获批节奏直接影响整个商业化进程与上市时间表,这也是创新械企上市路上的核心考验。

同时,科创板对未盈利企业的审核趋严,更加看重真实的商业化能力和可预期的盈利路径,单纯依靠技术故事已经很难支撑顺利过会,而恒宇医疗目前仍处于成长阶段,盈利预期的兑现仍需时间。

并且行业竞争也在持续加剧,外资品牌下压、国内同类企业加速追赶,市场份额与价格体系都面临考验,进一步增加了商业化兑现的难度。

此外,IPO审核政策、市场环境、估值窗口等外部因素同样可能影响企业的上市计划,此前也有技术与融资均表现突出的器械企业因各种原因暂缓或撤回上市申请。


结语:资本背书强化上市预期,能否落地仍看关键兑现

整体来看,五个月内连续完成D+轮融资与超亿元战略投资,让恒宇医疗的上市预期显著提升,也让其站在了资本化的关键路口。

对标北芯生命等行业先行者,恒宇医疗在赛道逻辑、技术方向和成长路径上具备相似的成长潜力,也因此具备冲击资本市场的可能性。但最终能否真正落地,仍需要等待产品注册进展、商业化兑现程度、财务表现以及合规审核等一系列关键节点的验证。

在国产替代加速、血管介入市场持续扩容的背景下,这家深耕高端腔内影像领域的企业,后续发展值得行业持续关注。

医疗器械创新网持续关注并深度链接医疗器械领域的创新力量。如果您是寻求技术转化、融资支持或园区落地的创新企业,或是希望捕捉前沿赛道的投资机构与产业园区,欢迎联系我们。一起助力下一个改变医疗格局的创新,从名单中的“公示”走向市场的“应用”。

联系方式:

13372107426




▲文章来源:医疗器械创新网
▲转载请标注以上来源

声明:本文仅作信息传递之目的,仅供参考。本文不对投资及治疗构成任何建议,请谨慎甄别。如涉及作品内容、版权和其它问题,为保障双方权益,请与我们联系,我们将立即处理。如有平台转载本篇文章,须自行对该篇文章负责,医疗器械创新网不对转载引起的二次传播负责。

图片

往期推荐

财务造假,医械龙头企业退市倒计时

迈瑞,再次出手!

奥林巴斯,新品

苏州这一械企,拿下近亿元融资!

图片


返回列表